АЛР-300 - Линии резки металла
(голосов 0)
Код товара: 11421
Снят с продаж
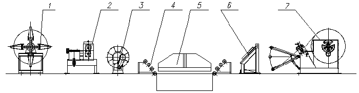
Линия автоматизированная для для продольного раскроя рулонного металла АЛР-300
- Разматыватель рулона
- Ножницы дисковые
- Рулонница под отходы (2шт)
- Петлеобразователь
- Стол заправочный
- Устройство натяжное
- Рулонница приемная
- Электронная система управления
ВАРИАНТЫ ДОСТАВКИ:
- Доставка с фикс. стоимостью (бесплатно от 50 тыс.р.) 100 ₽ подробнее
- Самовывоз бесплатно подробнее
- Доставка с фикс. стоимостью 100р + 50р за каждый кг веса 105 ₽
-
СДЭК
--- ₽
выбрать на карте
-
Почта РФ
--- ₽
выбрать на карте
СПОСОБЫ ОПЛАТЫ:

Отзывы к "АЛР-300 - Линии резки металла":
Пока нет отзывов